|
我司参加国内某船闸不锈钢材料调研目前国内已建的某大型船闸人字门支枕垫块材料采用的是锻造0Cr19Ni9N(新牌号:06Cr19Ni10N)不锈钢,其机加工性、可锻性好,热处理后的理论硬度可以达到HB200左右,但实际制作过程中热处理后的硬度仅有HB160左右。由于接触面硬度偏低,容易磨损,一旦夹有异物,会在垫块接触面上形成沟槽,影响结构承载。尽管0Cr19Ni9N不锈钢可以补焊,但其使用寿命会降低。 支枕垫块的工作状态较为复杂,其*危险的工作条件是动态的,难以建立数学模型进行分析,目前也没有一个较为合适的数值计算公式进行评估,但在理想条件下的静态值是可通过计算获得。国内某大型船闸人字门支、枕垫块*大线荷载约为1000t/m,理论计算的*大接触应力已经接近容许应力值的70%左右,考虑实际工程中的安装、制造误差,实际有效接触面积相对于理论接触面积偏小,局部位置实际接触应力基本达到容许应力值。并且,人字门从旋转到全关位置至形成三铰拱保持全静止状态是一个动态过程,也是支承荷载重新分配到新平衡点的过程,支枕垫块开始接触的位置不一定是*终的工作位置。因此,支枕垫块在低速重载条件下,会产生滑动摩擦(卡阻),其计算中必须考虑材料的硬度、疲劳、局部承载能力问题。 现有一座即将建设的新的超大型船闸,规模超过上述已建船闸,其人字门支枕垫块承受的*大线荷载高达1400t/m,承受荷载相对于上述某已建有船闸增大很多。新船闸人字门支枕垫块是否能继续采用锻造0Cr19Ni9N不锈钢或选用更优质的新材料替代,急需进行调研分析。 1、 船闸人字门
人字型闸门是船闸中普遍采用的一种闸门型式,人字闸门的每一门扇,是由门叶结构、支承设备、止水、安全保护设备及工作桥等组成。门叶结构包括面板、次梁、主梁、隔板、斜接柱、门轴柱以及门背联结系等。支承设备包括底枢,顶枢、支垫、枕垫、和导卡。顶、底枢是支承闸门的重量,防止门扇倾倒的设备。底枢中心与顶枢的颈轴的连线构成门扇的转动轴,支、枕垫起铰支承的作用,传递三铰拱作用的轴向力。导卡用来保证两门扇关闭到位准确,防止门扇间产生相对错位。人字闸门一般只能承受单向水压力,而只能在上、下游水位相等,静水状况下操作运行,*适用于通航河道的船闸,作为工作闸门布置在上、下闸首。
图1 人字门平面布置图
图2 船闸人字门关门状态
图3 船闸人字门开门状态 2 船闸人字门支枕垫块 支枕垫块是船闸人字门的侧向支承和中缝支承,其主要作用是人字门在关门挡水时将全部水压力传递给闸墙,同时还兼作人字门的侧向止水和中缝止水。门支枕垫块难以检修或更换,为提高其块耐腐蚀能力,通常选择不锈钢材料。以不锈钢材料制作加工的支枕垫块作为船闸人字门侧向和中缝的连续钢止水,止水效果好,且耐腐蚀;但在承载能力、承载面硬度、耐磨抗冲效果等方面还有待提高。
图4 船闸人字门斜接柱支枕垫块(断面尺寸300*140)
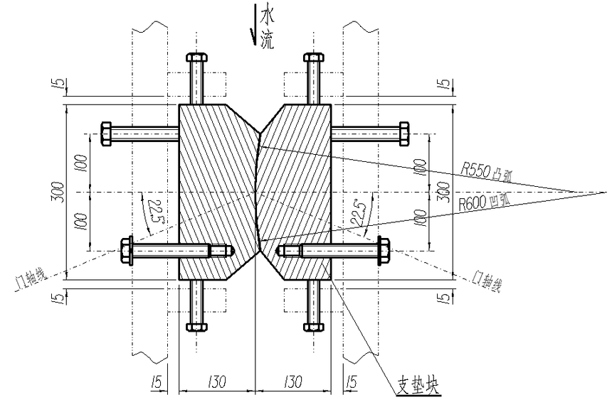
图4 船闸人字门门轴柱支枕垫块(断面尺寸440*210)
图5 船闸人字门门轴柱支枕垫块三维图 3 船闸人字门支枕垫块存在的问题 采用强度高的材料,接触面锈蚀后无法止水、承载接触线不均匀,局部接触应力超过要求。
采用不锈钢材料,接触面硬度低,承载后容易产生凹坑,修复补焊打磨精度达不到要求,无法止水、承载接触线不均匀,局部接触应力超过要求。
|











